|
NO:2
新型衣架
专利号:ZL 200920066301.9
专利申请人:湖南省平江县第一中学296班 余 超
辅导:湖南省平江县第一中学 张从军
一、说明书摘要
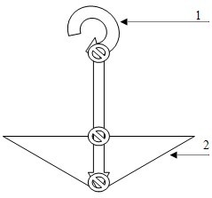
1、一种新型衣架,其特征在于它由衣架主体和悬挂部件组成,其中衣架主体由一个金属铁丝等腰三角形形态的构件形成衣物放置器2,悬挂部件由金属铁丝的挂钩和挂杆组成衣架悬挂器1,衣架的主体等腰三角形的底边中心点和等腰三角形的顶角点均与悬挂部件的挂杆一端相嵌固定,挂杆的另一端与挂钩一端相嵌固定。
二、说明书
新型衣架
技术领域
本实用新型涉及一种解决人们在日常生活中晒衣服使用过程中具有固定形态的新型衣架。
背景技术
现在,在人们日常生活中的晾晒衣服时所使用的衣架种类很多,式样也很多,但这些衣架产品在使用中很容易发生形变,极为不方便长期性的重复使用。另外,这些衣架在日常使用中,晾晒衣服都很容易被风吹落,有时衣服被吹落弄脏需要重洗,有时衣服被吹落遗失,所以,给人们的使用带来许多不便之处。
发明内容
本实用新型的目的是针对背景技术中存在的缺点和问题加以改进,提供一种具有长久使用不变形态的性能和抗风吹袭功能的新型衣架。
本实用新型的技术方案是构造一种由衣架主体和悬挂部件组成的衣架,其中衣架主体由一个金属铁丝等腰三角形形态的构件形成衣物放置器,悬挂部件由金属铁丝的挂钩和挂杆组成衣架悬挂器,衣架的主体等腰三角形的底边中心点和等腰三角形的顶角点均与悬挂部件的挂杆一端相嵌固定,挂杆的另一端与挂钩一端相嵌固定。
本实用新型的优点及有益效果:
本实用新型发明了一种利用三角形力点形体原理的集三角形状的衣物放置器、衣物悬挂器于一体的,具有长期使用形态不变的稳定性功能作用的实用性技术产品。本实用新型使用三角形力点形体原理处理技术,实现了衣架使用形态稳定性功能的效果,使产品具有了形态稳定性、经久耐用性的广泛实用性的特点,可广泛应用于人们的日常生活中晾晒衣物需要。
附图说明
附图1为新型衣架结构示意图
具体实施方式
由附图1可知,本实用新型由衣架主体和悬挂部件组成,其中衣架主体由一个金属铁丝等腰三角形形态的构件形成衣物放置器2,悬挂部件由金属铁丝的挂钩和挂杆组成衣架悬挂器1,衣架的主体等腰三角形的底边中心点和等腰三角形的顶角点均与悬挂部件的挂杆一端相嵌固定,挂杆的另一端与挂钩一端相嵌固定。
本实用新型由等腰三角形状的衣架主体衣物放置器2和悬挂部件衣架悬挂器1的嵌合固定形成力点与线稳定形态,实现了新型衣架的长期使用不变形态的功能作用。
本实用新型的工作原理,附图中指出了新型衣架的构成由衣架主体一个金属铁丝等腰三角形状态的构件形成衣物放置器2完成放置衣物的主体功能处理,衣架悬挂部件由金属铁丝的挂杆和挂钩的相嵌固定形成衣架悬挂器1完成悬挂的功能处理,衣架悬挂器1的挂杆部分固定于衣物放置器2的等腰三角形的底边中心和等腰三角形的两等边的顶角构成衣架完成晾晒衣物的功能处理。
本实用新型所述的实施例仅仅是对本实用新型的优选实施方式进行的描述,并非对本实用新型构思和范围进行限定,在不脱离本实用新型设计思想的前题下,本领域中工程技术人员对本实用新型的技术方案作出的各种变型和改进,均应落入本实用新型的保护范围,本实用新型请求保护的技术内容,已经全部记载在权利要求书中。
三、说明书摘要
本实用新型涉及一种解决人们在日常生活中晒衣服使用过程中具有固定形态的新型衣架。本实用新型由衣架主体和悬挂部件组成的衣架,其中衣架主体由一个金属铁丝等腰三角形形态的构件形成衣物放置器,悬挂部件由金属铁丝的挂钩和挂杆组成衣架悬挂器,衣架的主体等腰三角形的底边中心点和等腰三角形的顶角点均与悬挂部件的挂杆一端相嵌固定,挂杆的另一端与挂钩一端相嵌固定。本实用新型利用三角形力点形体原理的集三角形状的衣物放置器、衣物悬挂器于一体的,具有长期使用形态不变的稳定性功能作用。本实用新型实现了衣架使用形态稳定性功能的效果,使产品具有了形态稳定性、经久耐用性的广泛实用性的特点,可广泛应用于人们的日常生活中晾晒衣物需要。
四、请求费用减缓书
请求费用减缓的理由(申请人为个人,请求减缓费用必须如实填写每个人年收入状况):
本人为中学生,无经济收入,请求减缓费用。

|